Smart dust-cleaner and cooler for solar PV panels

Abstract

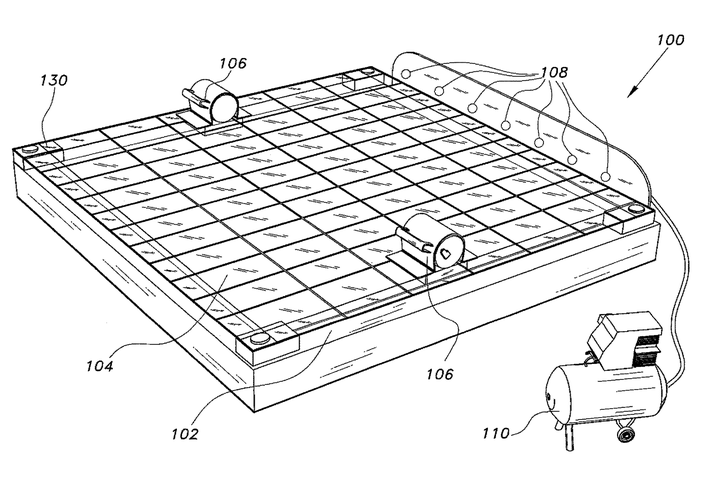
The smart dust-cleaner and cooler for solar photo-voltaic (PV) panels is a smooth transparent shield with low absorption coefficient (such as a plastic sheet) placed on top of the PV panel to facilitate removal of dust particulates. Two membrane vibrators (MVs) are placed on opposite sides of the PV panel. The vibrators have the ability to shake and resonate the transparent shield, dislodging the dust particulates from their positions. A compressor powered by the PV panel compresses air before a dust cleaning/cooling process, in which a short duration release of the compressed air creates an air stream over the PV panel that removes the loose dust particulates and cools the PV panel to enhance performance. Using a microcontroller-based timer, the dust cleaning/cooling process is timed for daily operation before noon, when the PV panel temperature is at its peak to maximize PV panel efficiency at maximum irradiance time.

Publication
[Granted] US Patent US9899957B2